

Practice R3.2 Electron transfer reactions with authentic IB Chemistry exam questions for both SL and HL students. This question bank mirrors Paper 1A, 1B, 2 structure, covering key topics like atomic structure, chemical reactions, and organic chemistry. Get instant solutions, detailed explanations, and build exam confidence with questions in the style of IB examiners.
Voltaic cells convert chemical energy into electrical energy.
Identify the direction of electron flow in a zinc–copper voltaic cell.
State the species reduced at the cathode.
Explain why the flow of electrons occurs in that direction.
The diagram below shows a copper-silver electrochemical cell.

State the meaning of the term half-cell in an electrochemical cell.
Write the balanced half-equations for the reactions occurring at the anode and cathode.
Identify the direction of electron flow in the external circuit.
Suggest one reason why a salt bridge is necessary in this electrochemical cell.
State and explain what happens to the mass of the copper and silver electrodes during the operation of the cell.
In a laboratory investigation, a piece of iron metal is placed into a solution of silver nitrate. After some time, a grey solid is observed forming on the surface of the iron.
Write the oxidation half-equation for iron forming .
Write the reduction half-equation for silver ions forming silver metal.
Combine the two half-equations to write the overall ionic redox equation.
Identify the species oxidized and the species reduced in this reaction.
Suggest why this reaction occurs spontaneously, based on relative reactivity.
Molten magnesium chloride () is electrolyzed in an industrial process to extract magnesium metal. The electrolyte is heated to a temperature above the melting point of , and inert electrodes are used.
Identify the product formed at the cathode during this electrolysis.
Write the half-equation for the formation of this product.
Explain why electrolysis of molten salts is considered a redox reaction, referring to both electrode processes.
State one reason why electrolysis of molten salts is more energy-intensive than electrolysis of aqueous solutions.
Consider the redox reaction:
State the oxidation number of chlorine in .
Identify the species that is reduced.
Explain why this reaction is classified as redox.
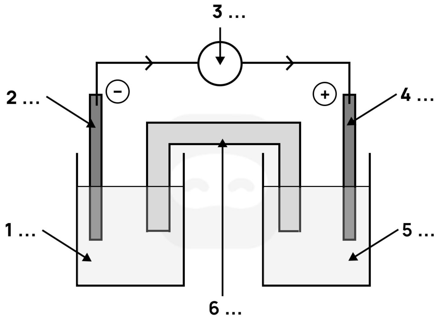
The diagram below shows a voltaic (galvanic) cell. Parts are labeled with numbers 1-6.

State the meaning of the term voltaic cell.
Explain the purpose of the salt bridge in the setup.
Annotate parts 1-6 in the diagram for a voltaic cell made from a zinc electrode in and a copper electrode in .
Write the half-equations for the reactions at the anode and cathode.
The diagram below shows a zinc-copper electrochemical cell.

State the meaning of the terms anode and cathode in an electrochemical cell.
Write the half-equations for the reactions occurring at the anode and cathode.
Identify the direction of electron flow in the external circuit.
State the role of the salt bridge in this cell and explain why it is necessary.
Predict and explain what happens to the mass of each electrode as the cell operates.
Redox reactions involve electron transfer.
Define the term oxidation in terms of electrons.
Deduce the oxidation number of oxygen in .
Deduce which species is oxidized in the reaction:
The following standard electrode potentials are provided:
Write the overall redox reaction occurring in the voltaic cell.
Calculate the standard cell potential, .
Predict whether the reaction is spontaneous in the forward direction and justify your answer.
Zinc reacts with dilute hydrochloric acid in a redox reaction.
State the gas formed during this reaction.
Write the ionic equation for the reaction between zinc and hydrogen ions.
Identify the oxidizing and reducing agents in this reaction.